ماژولهای دوربین بدترکیب آیفون
تبلیغات
اولین رندرهای آیفون 11 را بخاطر دارید که سال گذشته منتشر شدند ؟ ماژول دوربین جعبهای که در پنل شیشهای پشتی جای گرفته بود خیلی خوشایند نبود. با در نظر گرفتن رندرها خیلیها از ماژول دوربین انتقاد کردند اما هنگام عرضه در نسخه نهایی خیلی بهتر از رندرها جلوه کرد. اگر از طرفداران مجموعه دوربین 3گانه مدلهای 2019 نیستید حال مدارکی به دست رسیدند که شرایط میتوانست بدتر از این باشد.

اخیراً پتنتهایی منتشرشدهاند که طرحهای متنوعی از ماژول دوربین کمپانی اپل را نشان میدهند. شاید طرحهایی که در ادامه میبینید تأسف شما را برانگیزند و البته احتمال دارد که اپل از این پتنتها برای مدلهای آتی استفاده کند.
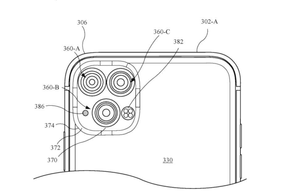
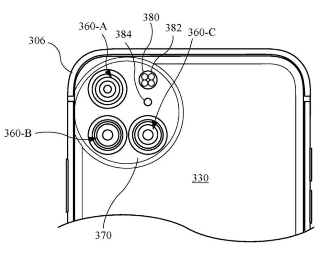
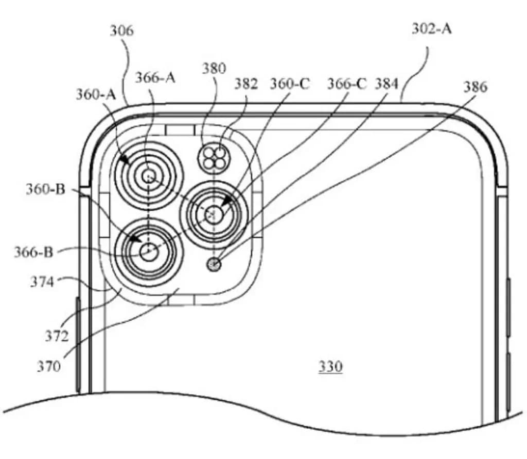
هرچند محل قرارگیری دوربینها درون آن متفاوت است برخی از تصویرها همان طرح مربعی شکل مورداستفاده در آیفونهای سال 2019 را نشان میدهند . دیگر تصویری که ماژول دایرهای شکل را نشان میدهد دوربینهای پشتی و یک فیچر با شکل عجیبوغریب را به تصویر میکشد و باید خوشحال باشیم که اپل از آن برای سری آیفون 11 استفاده نکرد. غول تکنولوژی مستقر در کوپرتینو درباره این پتنتها میگوید: ظاهر ماژول دوربین هر شکلی که باشد تا زمانی که بر روی عملکرد سنسورها، فلش و میکروفون موجود در آن تأثیر منفی نگذارد بهعنوان یک طرح انتخابی و نهایی موردبحث است. بااینحال خوشحالیم که اپل تصمیم درستی گرفت.

ماژول دوربین مربعی شکل برای آیفون سری 12 مورد انتظار است. نسخههای پرو احتمالاً مجهز به یک لنز عریض، فوق عریض و یک حسگر تلهفوتو با زوم 3 برابری خواهند بود. از وجود سنسور عمق سنج LiDAR خیلی مطمئن نیستیم. اولین بار در نسخههای آیپد پرو مورداستفاده قرار گرفت، سنسور LiDAR با به کار گرفتن تکنولوژی زمان پرواز همراه با تواناییهای هوش مصنوعی و بوکههای بهبودیافته در عکسهای پرتره عمق سنجی دقیقتری خواهیم داشت. بهرهمندی آیفون 12 و آیفون 12 پلاس از حسگر LiDAR هنوز تائید نشده است. برخی دیگر از کارشناسان بر این باورند که این پتنتها صرفاً برای تولیدکنندگان کیس منتشرشده تا از ابعاد و محل قرارگیری ماژول مطلع شوند.

این پتنتها در تاریخ 27 آگوست 2019 ثبت شدند دقیقاً یک هفته پس از رونمایی از آیفونهای مدل 2019. مدلهای امسال قادر به پشتیبانی از ارتباطات نسل پنجم هستند. از سال 2014 که لبههای آیفون منحنی بودند حال به لبههای فلت بازگشتیم که در سال 2010 در آیفون 4 وجود داشت. اپل لبههای فلت را برای آیفونهای 4s (اولین مدلی که با سیری عرضه شد)،5 و 5s به کار گرفته بود.

برچسبها:



